Описание
Подробности
Указатель уровня Т-29бм
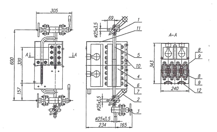
Т-29бм указатель уровня жидкости прямого действия. Указатель уровня Т-29бм предназначен для наблюдения за уровнем воды в барабане котла или в сосуде. Видимое поле наблюдаемого уровня жидкости составляет 320 мм. Смотровые щели указателя уровня Т-29бм закрываются термозакаленным стеклом по ГОСТ 1663-81. Для химической защиты стекла от воздействия щелочей котловой воды под стекло кладется слюдяная пластина по ГОСТ 13752-86. Указатель Т-29бм изготавливается условным диаметром Ду20.
| Наименование | Указатель уровня |
| Шифр | Т-29бм |
| Диаметр условного прохода, мм | 20 |
| Давление условное, МПа(кгс/см2) | 6,3(64) |
| Температура, ºС | не более 270 |
| Среда | Пар, вода |
| Видимое поле наблюдаемого уровня, мм | 320 |
| Строительная длина, мм | 600 |
| Длина, мм | 343 |
| Высота, мм | 912 |
| Масса, кг | 60,1 |
Состав и устройство указателя уровня жидкости Т-29бм:

- Верхняя вентильная головка;
- Нижняя вентильная головка;
- Продувочный вентиль;
- Рукоятки;
- Осветительное устройство;
- Шпиндели всех вентилей;
- Уплотнительные поверхности в корпусах вентилей;
- Тарелки;
- Защитное устройство.
Условия эксплуатации указателя уровня жидкости Т-29бм:
- Температура рабочей среды: до + 270°С;
- Рабочая среда: вода, пар;
- Климатическое исполнение и категория размещения по ГОСТ 15150-69:
<Т-29бм – общепромышленное исполнение, Т-29бм УЗ – для стран с умеренным климатом, Т-29бм ТЗ –для стран с тропическим климатом;
Технические данные указателя уровня Т-29бм:
- Привод: ручной;
- Номинальное давление PN, МПа (кгс/см²): 6,4 (64);
- Присоединение к трубопроводу: под приварку;
- Установочное положение на трубопроводе: вертикальное;
- Регламентирующий документ: ТУ 108.21.275-85;
Материалы основных деталей указателя Т-29бм:
- Материал изделия (основание корпуса): сталь 20;
- Материал изделия (тарелка): сталь 30х13-б-т;
- Материал изделия (шпиндель): 40х-3-т;
- Материал изделия (грундбукса): сталь 20;
- Материал изделия (рамка): сталь 20к-18;
- Материал изделия (трубка, отвод): сталь 20;
- Материал изделия (планка прижимная): сталь 20к-10;
- Материал изделия (шпилька, гайка): сталь 35;
Показатели надежности указателя Т-29бм:
- Полный средний ресурс, часов: 200000;
Характеристики
Характеристики
| Диаметр условный,мм | 20 |
|---|---|
| Давление PN (кгс/см2) | 6,3 |
| Материал исполнения корпусной детали: | сталь 20Л |
| Рабочая среда | Вода, Пар |
| Температура среды, °C | 270 |
| Климатическое исполнение | У-умеренный климат |
| Рабочее давление, МПа | 6.4 |
| Строительная длина, L=мм: | 600 |
| Строительная высота, H=мм: | 912 |
| Масса, кг | 60,1 |
Отзывы
Напишите ваш собственный отзыв
Оставлять отзывы могут только зарегистрированные пользователи. Пожалуйста, войдите или зарегистрируйтесь
Напишите ваш собственный отзыв
Оставлять отзывы могут только зарегистрированные пользователи. Пожалуйста, войдите или зарегистрируйтесь


