Описание
Подробности
Клапан 3СК-25
Клапаны запорные соленоидные серии ЗСК предназначены для автоматического прекращения подачи мазута, пара или воды в схемах блокировки различных технологических процессов.
Изготовляются в исполнениях для умеренного и тропического климата и применяются для работы в следующих условиях:
высота над уровнем моря не более 1000 м;
температура окружающего воздуха от -40 до +50 гр. С;
относительная влажность окружающего воздуха не должна превышать 90% при температуре 20 гр. С и не более 50% при температуре 40 гр. С;
окружающая среда невзрывоопасная, не содержащая агрессивных газов и паров, разрушающих металлы и изоляцию, не насыщенная токопроводящей пылью и водяными парами;
отсутствие непосредственного воздействия солнечной радиации;
вибрационные нагрузки при ускорении 1 g частотой 1-60 Гц;
ударные нагрузки при ускорении 5 g частотой не более 40-80 ударов в минуту в течение 1-10 мс.
номинальное напряжение срабатывания переменного тока, В – 127, 220, 380. Клапан ЗСК-25 изготавливается условным диаметром Ду25.
Основные характеристики
Проход условный Ду, мм 15, 25, 32;
Давление рабочее Рр, МПа (кгс/см2) 4 ( 40 )
Рабочая среда мазут, вода, пар;
Температура рабочей среды, С до 400;
Строительная длина L, мм 175, 200, 210;
Масса изделия, кг 12,2; 15,6; 19,0;
Материал корпуса сталь 3;
Присоединение к трубопроводу фланцевое по ГОСТ 12815-80;
Привод электромагнитный.
УСТРОЙСТВО И РАБОТА
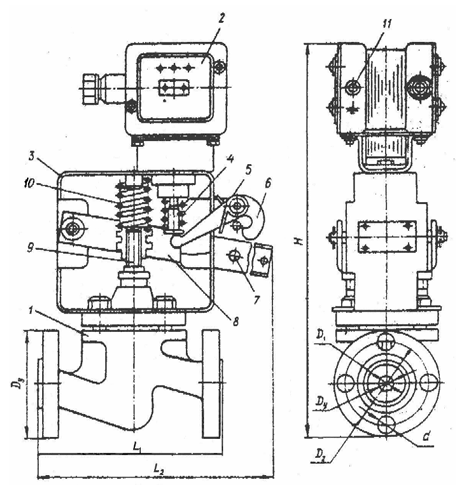
Клапан запорный соленоидный ЗСК состоит из двух основных узлов: электромагнитного привода и клапана.
Вентиль 1 клапана соединен с электромагнитным приводом 2 посредством штампованной рамки 3. При замыкании цепи питания электромагнита втягивается якорь электромагнита, сжимая пружину 4. Под действием пружины 5 взводится курок 6. Рычаг 8 в подтянутом положении захватывается курком за валик 7. При поднятом положении рычага золотник, соединенный штоком 9 с рычагом, поднимается и открывает проход клапана.
Клапаны применяются вместе с электрическим датчиком, который при аварийном состоянии процесса обесточивает электромагнит. При обесточивании электромагнита, якорь, перемещаясь под действием пружины 4, выводит из зацепления курок 6 с рычагом 8. Шток вместе с золотником под действием пружины 10 переместится вниз и перекроет проход клапана.
Закрытие клапана происходит автоматически при разрыве цепи питания, открытие клапана производят рычагом вручную. Корпус электромагнитного привода снабжен заземляющим винтом 11.
Конструкция токовыводов предусматривает возможность присоединения двух алюминиевых или медных проводов сечением не менее 1,5 мм2.
Устройство клапана запорного соленоидного клапана ЗСК-25

- Вентиль;
- Электромагнитный привод;
- Рамка штампованная;
- Пружина курка;
- Пружина;
- Курок
- Валик;
- Рычаг;
- Шток;
- Пружина клапана;
- Заземляющий винт.
Характеристики
Характеристики
| Диаметр условный,мм | 25 |
|---|---|
| Давление PN (кгс/см2) | 40 |
| Тип поворотного механизма | электро-магнитный |
| Рабочая среда | Вода, Масла, нефть, Пар |
| Температура среды, °C | до +400 |
| Температура окружающей среды -°C (min): | 40 |
| Температура окружающей среды +°C (max): | 50 |
| Рабочее давление, МПа | 4 |
| Строительная длина, L=мм: | 200 |
| Строительная высота, H=мм: | 403 |
| Масса, кг | 15,6 |
| Вес агрегата,(кг) | 12.2000 |
Отзывы
Напишите ваш собственный отзыв
Оставлять отзывы могут только зарегистрированные пользователи. Пожалуйста, войдите или зарегистрируйтесь
Напишите ваш собственный отзыв
Оставлять отзывы могут только зарегистрированные пользователи. Пожалуйста, войдите или зарегистрируйтесь


