Описание
Подробности
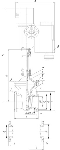
Задвижка 31с949нж
Задвижка под электропривод 31с949нж применяется в качестве запорного устройства с дистанционным управлением на трубопроводах транспортирующих воду, воздух, пар, аммиак, природный газ, нефть, нефтепродукты, жидкие и газообразнык углеводородные среды при максимальном давлении среды 16,0 МПа (160 кгс/см2) и максимальной рабочей температуры до +425 °С. В задвижках 31с949нж применяется двухдисковый клин. Уплотнение шпинделя - сальниковое. В верхнем положении затвора шпиндель имеет верхнее уплотнение по конической поверхности в крышке.
Принцип действия задвижки 31с949нж
При подаче электрического тока на электропривод задвижки, получает вращение резьбовая втулка, преобразующая вращательное движение в поступательное движение шпинделя и клина, тем самым открывая или закрывая проходное сечение.
Условия эксплуатации клиновой задвижки 31с949нж:
- Температура рабочей среды: от - 40 до + 425°С;
- Температура окружающей среды: от -40 до +40°С;
- Рабочая среда: вода, пар, масла, нефть, жидкие неагрессивные нефтепродукты, неагрессивные жидкие и газообразные среды по отношению к которым материалы корпуса задвижки коррозионностойки;
- Климатическое исполнение и категория размещения по ГОСТ 15150-69: У1;
- Направление потока среды: любое;
Технические данные клиновой задвижки 31с949нж:
- Привод: электропривод;
- Номинальное давление PN, МПа (кгс/см²): 16,0 (160);
- Геометрия затвора: клиновый;
- Присоединение к трубопроводу: фланцевое по ГОСТ 12815-80;
- Установочное положение на трубопроводе: приводом вверх с допустимым отклонением от вертикали до 90° в любую сторону;
- Регламентирующий документ: ТУ 257.000.4.0000.00, ТУ 3741-001-07057596-2002, ТУ 3741-001-00218162-2005, ТУ 3741-001-07533604-94;
- Класс герметичности по ГОСТ 9544-93: «А»;
- Номера чертежей: ТД 13016, ЗКЛП;
- Таблица-фигура: 31с949нж;
Материалы основных деталей клиновой задвижки 31с949нж:
- Материал изделия (корпус, крышка, клин): сталь 25Л;
- Материал изделия (шпиндель): сталь 20Х13;
- Материал изделия (прокладка, уплотнение): ТРГ;
- Материал изделия (наплавка на клине и корпусе): сталь 20Х13;
Показатели надежности клиновой задвижки 31с949нж:
- Средний срок службы клиновой задвижки 31с949нж: не менее 15 лет;
- Гарантийная наработка, циклов: 400;
- Полный средний ресурс, циклов: 2000;
Габаритные и присоединительные размеры клиновой задвижки 31с949нж:

Характеристики
Характеристики
| Диаметр условный,мм | 150 |
|---|---|
| Давление PN (кгс/см2) | 16 |
| Способ монтажа | фланец |
| Класс герметичности | А |
| Материал исполнения корпусной детали: | сталь 20Л |
| Материал исполнения уплотнительных колец: | НЖ-нержавеющая сталь |
| Тип поворотного механизма | электропривод |
| Рабочая среда | вода,пар,газ,жидкие и газообразные неагресивные нефтепродукты |
| Температура среды, °C | 425 |
| Температура окружающей среды -°C (min): | 40 |
| Температура окружающей среды +°C (max): | 40 |
| Климатическое исполнение | У-умеренный климат |
| Рабочее давление, МПа | 1,6 |
| Тип затворного механизма | клиновый |
| Строительная длина, L=мм: | 559 |
| Межосевое расстояние фланцев, D=мм: | 290 |
| Масса, кг | 264 |
Отзывы
Напишите ваш собственный отзыв
Оставлять отзывы могут только зарегистрированные пользователи. Пожалуйста, войдите или зарегистрируйтесь
Напишите ваш собственный отзыв
Оставлять отзывы могут только зарегистрированные пользователи. Пожалуйста, войдите или зарегистрируйтесь


