Описание
Подробности
Задвижка 31с942р Ду800
Задвижка под электропривод 31с942р Ду800 применяется в качестве запорного устройства на трубопроводах транспортирующих абразивные среды при максимальном давлении среды 1,0 МПа (0 кгс/см2) и максимальной рабочей температуры до +80 °С. В задвижках 31с942р Ду800 применяется двухдисковый клин. Уплотнение шпинделя - сальниковое. В верхнем положении затвора шпиндель имеет верхнее уплотнение по конической поверхности в крышке.
Принцип действия задвижки 31с942р Ду800
При подаче электрического тока на электропривод задвижки, получает вращение резьбовая втулка, преобразующая вращательное движение в поступательное движение шпинделя и клина, тем самым открывая или закрывая проходное сечение.
Условия эксплуатации клиновой задвижки 31с942р Ду800:
- Температура рабочей среды: от - 40 до + 80°С;
- Температура окружающей среды: от -40 до +40°С;
- Рабочая среда: абразивная пульпа;
- Климатическое исполнение и категория размещения по ГОСТ 15150-69: У1;
- Направление потока среды: любое;
Технические данные клиновой задвижки 31с942р Ду600:
- Привод: электропривод;
- Номинальное давление PN, МПа (кгс/см²): 1,0 (10);
- Геометрия затвора: клиновый;
- Присоединение к трубопроводу: фланцевое по ГОСТ 12815-80;
- Установочное положение на трубопроводе: приводом вверх с допустимым отклонением от вертикали до 90° в любую сторону;
- Регламентирующий документ: ТУ 257.000.4.0000.00, ТУ 3741-001-07057596-2002, ТУ 3741-001-00218162-2005, ТУ 3741-001-07533604-94;
- Класс герметичности по ГОСТ 9544-93: «А»;
- Номера чертежей: ТД 13016, ЗКЛП;
- Таблица-фигура: 31с942р Ду800;
Материалы основных деталей клиновой задвижки 31с942р Ду800:
- Материал изделия (корпус, крышка, клин): сталь 20Л;
- Материал изделия (шпиндель): сталь 20Х13;
- Материал изделия (прокладка, уплотнение): ПОН;
- Материал изделия (наплавка на клине и корпусе): коррозионостойкая наплавка;
Показатели надежности клиновой задвижки 31с942р Ду800:
- Средний срок службы клиновой задвижки 31с942р Ду800: не менее 5 лет;
- Гарантийная наработка, циклов: 300;
- Полный средний ресурс, циклов: 100;
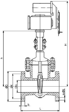
Габаритные и присоединительные размеры клиновой задвижки 31с942р Ду800:

Характеристики
Характеристики
| Диаметр условный,мм | 1000 |
|---|---|
| Давление PN (кгс/см2) | 10 |
| Способ монтажа | фланец |
| Класс герметичности | А |
| Материал исполнения корпусной детали: | сталь 20Л |
| Способ изготовления основной корпусной части | литая |
| Материал исполнения уплотнительных колец: | Р-резина |
| Тип поворотного механизма | электропривод |
| Рабочая среда | Коррозионные вещества |
| Температура среды, °C | 80 |
| Температура окружающей среды -°C (min): | 40 |
| Температура окружающей среды +°C (max): | 40 |
| Климатическое исполнение | У-умеренный климат |
| Рабочее давление, МПа | 1,0 |
| Строительная длина, L=мм: | 1200 |
| Строительная высота, H=мм: | 3480 |
| Межосевое расстояние фланцев, D=мм: | 1160 |
| Масса, кг | 4713 |
Отзывы
Напишите ваш собственный отзыв
Оставлять отзывы могут только зарегистрированные пользователи. Пожалуйста, войдите или зарегистрируйтесь
Напишите ваш собственный отзыв
Оставлять отзывы могут только зарегистрированные пользователи. Пожалуйста, войдите или зарегистрируйтесь


