Описание
Подробности
Задвижка 30ч973бр
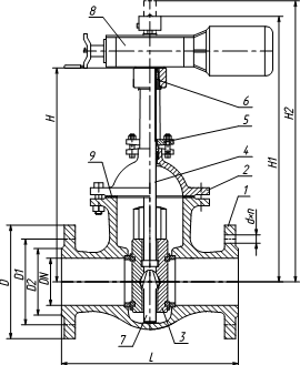
Задвижка чугунная параллельная с выдвижным шпинделем двухдисковая с электроприводом 30ч973бр. Применяется в качестве запорного устройства на технологических линиях. Установочное положение задвижки 30ч973бр: любое, кроме электроприводом вниз. Управление задвижки 30ч973бр электрическое. Материал основных деталей задвижки чугунной 30ч973бр: корпус, крышка, клин – чугун; шпиндель – сталь 20х13. Материал уплотнительных поверхностей – латунь.
Задвижка чугунная 30ч973бр устанавливается на технологических линиях в качестве запорного устройства при температуре до 225С. Задвижка чугунная 30ч973бр выпускается в Ду: 400. Присоединение к трубопроводу задвижки 30ч973бр: фланцевое по ГОСТ 12815-80.
Основные технические данные задвижки 30ч973бр
Тип: задвижка параллельная двухдисковая с выдвижным шпинделем двухдисковая с электроприводом.
Условный диаметр: 400 мм.
Условное давление: 1,0 МПа (10 кг/см2).
Пробное давление: 0,4 МПа (4,0 кг/см2).
Рабочая среда: вода.
Температура рабочей среды: 225 оС.
Материал основных деталей: корпус, крышка и клин изготовлены из чугуна.
Тип присоединения: фланцевый с ответными фланцами по ГОСТ 20815-01.
Управление задвижкой: электрическое.
Климатическое исполнение: по гост 15150-69 «У».
Температура окружающей среды: от минус 30 до плюс 50 °С.
Направление рабочей среды: любое.
Климатическое исполнение: У1 или Т1 по ГОСТ 15150.
Изготовление и поставка: по ТУ 26-07-1214-79.
Размещение на трубопроводе: любое в верхней полусфере относительно горизонтальной плоскости (в том числе в горизонтальном положении), рекомендуемое положение - вертикальное, приводом вверх. При установке задвижек 30ч973бр в наклонном положении (угол наклона от вертикальной оси свыше 15°), для того чтобы исключить воздействие на трубопровод изгибающего момента из-за смещения центра тяжести изделия, рекомендуется установка опор (подпорок) под бугельный узел задвижек.
Задвижка 30ч973бр может поставляться в комплекте с ответными деталями (фланцы, прокладки, крепежные детали).

Характеристики
Характеристики
| Диаметр условный,мм | 400 |
|---|---|
| Давление PN (кгс/см2) | 10 |
| Способ монтажа | фланец |
| Класс герметичности | B,C,D |
| Материал исполнения корпусной детали: | СЧ 20 |
| Способ изготовления основной корпусной части | литая |
| Тип поворотного механизма | электропривод |
| Рабочая среда | Вода, Пар |
| Температура среды, °C | 225 |
| Температура окружающей среды -°C (min): | 30 |
| Температура окружающей среды +°C (max): | 50 |
| Климатическое исполнение | У-умеренный климат |
| Рабочее давление, МПа | 1,0 |
| Устройство движения шпинделя | выдвижное |
| Тип затворного механизма | клиновый |
| Строительная длина, L=мм: | 600 |
| Строительная высота, H=мм: | 1333 |
| Межосевое расстояние фланцев, D=мм: | 515 |
| Масса, кг | 456 |
Отзывы
Напишите ваш собственный отзыв
Оставлять отзывы могут только зарегистрированные пользователи. Пожалуйста, войдите или зарегистрируйтесь
Напишите ваш собственный отзыв
Оставлять отзывы могут только зарегистрированные пользователи. Пожалуйста, войдите или зарегистрируйтесь


