Описание
Подробности
Задвижка 30с64нж
Задвижка 30с64нж применяется в качестве запорного устройства на трубопроводах транспортирующих воду, воздух, пар, аммиак, природный газ, нефть, нефтепродукты, жидкие и газообразных углеводородные среды при максимальном давлении среды 2,5 МПа (25 кгс/см2) и максимальной рабочей температуры до +450 °С. В задвижках 30с64нж применяется двухдисковый клин. Уплотнение шпинделя - сальниковое. В верхнем положении затвора шпиндель имеет верхнее уплотнение по конической поверхности в крышке.
Принцип действия задвижки 30с64нж
При вращении маховика получает вращение резьбовая втулка, преобразующая вращательное движение в поступательное движение шпинделя и клина, тем самым открывая или закрывая проходное сечение.
Условия эксплуатации клиновой задвижки 30с64нж:
- Температура рабочей среды: до + 450°С;
- Температура окружающей среды: от -40 до +40°С;
- Рабочая среда:вода, пар, нефть, природный газ, жидкие и газообразные неагрессивные нефтепродукты;
- Климатическое исполнение и категория размещения по ГОСТ 15150-69: У1;
- Направление потока среды: под золотник (по стрелке);
Технические данные клиновой задвижки 30с64нж:
- Привод: ручной;
- Номинальное давление PN, МПа (кгс/см²): 2,5(25);
- Присоединение к трубопроводу: фланцевое;
- Установочное положение на трубопроводе: любое, кроме маховиком вниз;
- Регламентирующий документ: ТУ 3741-002-01515108-2004, ТУ 26-07-1125-96, ТУ 3741-031-02809450-2000;
- Класс герметичности по ГОСТ 9544-93: «А», «Б», «С»;
- Номера чертежей: ЗКЛ2;
- Таблица-фигура: 30с64нж;
Материалы основных деталей клиновой задвижки 30с64нж:>
- Материал изделия (корпус): сталь 25Л;
Показатели надежности клиновой задвижки 30с64нж:
- Средний срок службы задвижки 30с64нж: не менее 10 лет;
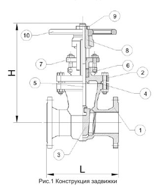
Устройство и основные габаритные и присоединительные размеры клиновой задвижки 30с64нж:>

1. Корпус, 2. Крышка, 3. Клин (диски), 4. Шпиндель, 5. Гайка шпинделя, 6. Гайка, 7. Шпилька,болт, 8. Болт откидной, 9. Уплотнение (прокладка, кольцо).
Порядок установки задвижки 30с64нж
Транспортирование задвижек 30с64нж, подвергнутых консервации, к месту монтажа должно производиться в упаковке предприятии-изготовителя. Разрешается снимать заглушки и производить расконсервацию задвижек только перед монтажом их на трубопровод.
Перед монтажом задвижек на трубопровод проверить: состояние упаковки, укладки задвижек и наличие эксплуатационной документации; наличие заглушек на магистральных патрубках; состояние внутренних полостей задвижек, доступных визуальному осмотру; состояние крепежных соединений; герметичность затвора, прокладочных соединений, сальника.
Удаление консервационных смазок следует производить чистой ветошью, смоченной растворителем (бензин, уайт-спирит и т.п.).
При монтаже для подвески и других работ следует использовать патрубки корпуса.
При монтаже запрещается использовать для подвески маховик.
Перед установкой задвижек трубопровод должен быть очищен от грязи, песка, окалины и т.п. При установке арматуры на трубопровод необходимо, чтобы фланцы на трубопроводе были установлены без перекосов. Запрещается устранять перекосы фланцев трубопровода за счет натяга (деформации) фланцев арматуры. Запрещается класть на задвижки отдельные детали, монтажный инструмент и посторонние предметы. Затяжка болтов гайками должна производиться равномерно, без перекосов.
Перед пуском системы, непосредственно после монтажа, все задвижки должны быть открыты и произведена промывка систем трубопровода.
В период пусконаладочных работ допускаются многократные опрессовки задвижек в составе системы, в которой они установлены. Периодичность, продолжительность и количество опрессовок - по условиям испытаний системы, давлением не более 1,25 PN.
При опрессовках запорное устройство изделия должно нахо¬диться в одном из крайних положений. Открывать и закрывать изделие при опрессовках не допускается. Порядок работы.
Во время эксплуатации следует производить периоди¬ческие осмотры (регламентные работы) в сроки, установленные графиком, в зависимости от режима работы системы (агрегата). При осмотре необходимо проверить: общее состояния задвижек; состояние крепежных соединений; герметичность мест соединений; работоспособность задвижки.
К монтажу, эксплуатации и обслуживанию задвижек допускается персонал, изучивший устройство задвижек, требования руководства по эксплуатации и имеющий навыки работы с задвижками.
Арматура должна иметь четкую маркировку и отличительную окраску в соответствии с ГОСТ 4666. Усилия на маховике и крутящие моменты не должны превышать максимально допустимые величины.
Затягивать шпильки гайками равномерно, без перекосов и перетяжек. Задвижки 30с64нж допускается использовать в составе систем, подвергающихся в период пусконаладочных работ многократным опрессовкам не более 1,25 PN.
Погрузочно-разгрузочные работы должны производиться по ГОСТ 12.3.009. Строповку необходимо производить в соответствии с руководством по эксплуатации. Задвижка 30с64нж не должна испытывать нагрузок от трубопровода. При необходимости должны быть предусмотрены опоры или компенсаторы. Эксплуатировать арматуру без эксплутационной документации по ГОСТ 2.601. Производить работы по демонтажу и ремонту при наличии давления в полости арматуры. Заменять набивку сальника, производить донабивку, подтяжку сальника при наличии давления в системе. Снимать арматуру с трубопровода при наличии в ней среды. Использовать арматуру в качестве опоры трубопровода, в качестве регулирующей.
Характеристики
Характеристики
| Диаметр условный,мм | 300 |
|---|---|
| Давление PN (кгс/см2) | 25 |
| Способ монтажа | фланец |
| Класс герметичности | A,B,C,D |
| Материал исполнения корпусной детали: | сталь 20Л |
| Способ изготовления основной корпусной части | литая |
| Материал исполнения уплотнительных колец: | НЖ-нержавеющая сталь |
| Тип поворотного механизма | ручной (маховик) |
| Рабочая среда | Вода, Газ, Масла, нефть, Пар |
| Температура среды, °C | 450 |
| Температура окружающей среды -°C (min): | 40 |
| Температура окружающей среды +°C (max): | 40 |
| Климатическое исполнение | У-умеренный климат |
| Рабочее давление, МПа | 2,5 |
| Устройство движения шпинделя | выдвижное |
| Тип затворного механизма | клиновый |
| Строительная длина, L=мм: | 500 |
| Строительная высота, H=мм: | 1095 |
| Межосевое расстояние фланцев, D=мм: | 430 |
| Масса, кг | 420 |
Отзывы
Напишите ваш собственный отзыв
Оставлять отзывы могут только зарегистрированные пользователи. Пожалуйста, войдите или зарегистрируйтесь
Напишите ваш собственный отзыв
Оставлять отзывы могут только зарегистрированные пользователи. Пожалуйста, войдите или зарегистрируйтесь


